抗氢球面紧急切断耐磨陶瓷阀
2022-08-23 星空体育(中国)阀门
继电保护也会犯浅显错误
2022-08-23 星空体育(中国)电气
KS-BJ系列热电偶补偿导线详解
2022-08-22 星空体育(中国)
WAX-C320系列差压流量计波动故障处理分享
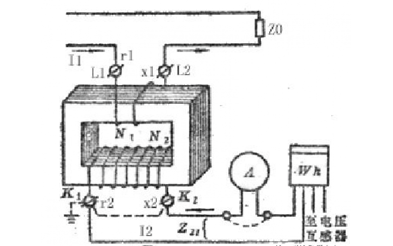
电压互感器与电流互感器的区别介绍
2022-08-22 星空体育(中国)电气
使用热电偶时,为什么要使用补偿导线
2022-08-20 星空体育(中国)
锅炉过热器减温水和再热器减温水对机组影响和作用
泵用恒位油杯的工作原理分享